With so many projects going on around Disney World, we find that many weeks, there’s a new patent, permit, or other update on at least one of the projects around the parks.

Recently, we’ve especially been seeing a lot of updates around the new Piston Peak land coming to Magic Kingdom. Just last month, we saw new permits filed for the area, as well as a patent that really looked like it could be for one of the new attractions coming to the area. Now, there’s ANOTHER new patent that you’ve gotta see, because we’ll be honest, we’re struggling to see how it could NOT be for the new rally race ride on its way!
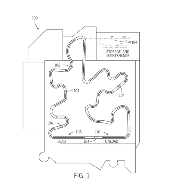
Disney’s newest patent was published on March 12th, and is for a “New Ride System Featuring a Free-Range Vehicle Platform.” However, what also really caught our eye? This patent was FILED all the way back on September 11th, 2024, which was before Piston Peak was even announced to the public! It’s clear from a few of the diagrams in the patent that this ride system looks very similar to the rally race type of ride Disney has said would be coming to Piston Peak.

The abstract of the patent lists that this details a ride system that “may include a track including uneven terrain, a plurality of ride vehicles positioned on the track, and a fleet controller (e.g., a wayside controller). The ride vehicles may be adapted to traverse the uneven terrain, such as along a respective chosen path of multiple paths based on respective user control. The user control may be configured to select the chosen path and adjust the speed and the direction of the ride vehicle along the chosen path. The fleet controller may provide an override control of the ride vehicles along the track based on the chosen path, the speed, and the direction of the ride vehicles. The fleet controller may define a default position and pacing for the ride vehicles. The user control may be configured to adjust the position and pacing of an associated ride vehicle from the default position and pacing, respectively.”

So what does all of this really mean? Well, it sounds like guests would enter a vehicle that they can truly drive along the track they choose, and will need to avoid obstacles along their path. This doesn’t sound like a ride where it “seems” like you’re driving, but you will indeed actually be in control of what happens, sort of like piloting the Millennium Falcon. But what if you’ve got kids driving who aren’t very coordinated? That’s where the fleet controller mentioned comes in — it sounds like this would be Cast Members who have the ability to take over the vehicle as needed to help keep the ride moving smoothly, as well as avoid any accidents, and it sounds like they could manually move the ride vehicle to another track as needed.

Now, Disney can always file patents for rides that don’t have any immediate future, or may not come to life at all! However, since this is such a close match to the rally race ride already mentioned by Disney, as well as matches with the other patent we suspected was for this ride, it wouldn’t surprise us if these truly are the plans for this ride. If that’s the case, consider us VERY excited!

We’ll be sure to keep you updated with all the latest information about Disney’s upcoming attractions and experiences, so stay tuned to AllEars!
Disney World Just Made 6 MAJOR Announcements
Are you looking forward to this new land? Tell us in the comments!

Trending Now
Who's ready to check out new Disney Loungeflys? Meeeeeee!
We're obsessed with this new, Target-exclusive, boho Owala collection!
We're showing off some new souvenirs coming to the Disney Store in May!
There's a new Tinker Bell Loungefly online, and we LOVE it!
Disney World just made a quiet change that could seriously improve how you book your...
If you are visiting Universal Orlando this May, pay attention to these FIVE ride closures!
There are tons of new Disney shirts available online!
Orlando International Airport has new nonstop flights this month.
A Disney Visa Cardmember Perk has CHANGED in Disneyland!
This new rule can make Disney World Annual Passes harder to get!
Hollywood Studios is already looking different!
Big things are happening at EPCOT this summer.
Here are this year's dates for the EPCOT Food & Wine Festival.
We REVIEWED Karamel Kuche at EPCOT!
There's a new Mickey Mouse x Columbia collection online!
You can have the best park strategy in the world, but if your shoes are...
When we called out what you thought was the worst hotel room in Disney World,...
Disney World ride closures just happen.
We've got some important charts to check out before you book your Lightning Lanes in...
You can't miss this new HOKA drop!