Any day Disney files a new patent, we get excited, because it hints at what could be coming to the theme parks.

Back in September of 2025, Disney filed a patent that could majorly upgrade the animatronics we see in the parks, and while we’ve yet to see it implemented exactly, upgrades ARE being made to animatronics (as we just saw over at Frozen Ever After). Disney just filed a new patent that, if we’re correct, could be a huge hint towards what kind of ride could be on its way to one of the park expansions currently taking place.
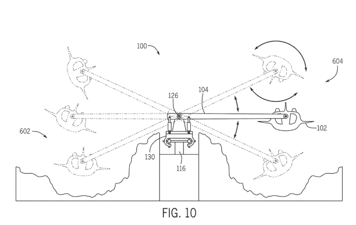
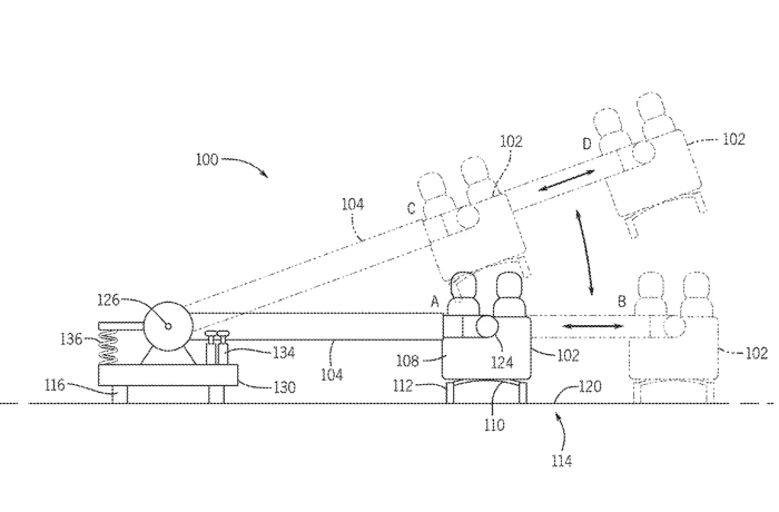
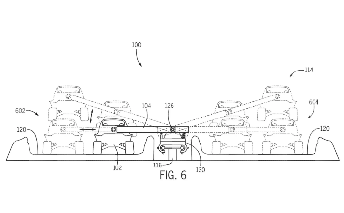
There’s a LOT to break down in this new patent. At its core, this new design has a boom arm that attaches to the ride vehicle via a chassis. As it moves along its track, the boom arm can change where the ride sits on the track — meaning it could move it up and down, side to side, and can even pivot to simulate larger changes.

The patent filing itself lists ways that it could be used in an attraction to simulate different movements, such as lifting the vehicle off the track in a “jump,” moving the vehicle side to side to avoid obstacles, “acceleration boosts,” adjusting height to make it seem like guests are going over ramps or hills, and so much more. Personally, while all of that sounds like it could fit numerous attractions, we think the best fit would be for the Rally Race attraction planned for Piston Peak (though no confirmation of this has been made at this time), especially since the patent describes a way that guests could maneuver and control the ride vehicle themselves!

The patent also describes there being multiple ride paths, where guests could use the arm to pivot themselves from one ride track to another, or the ride could be designed to redirect people to certain tracks at different points of the experience. A third and fourth track are also mentioned, which could indicate that every ride could be different!

It’s important to note that Disney has often filed patents that don’t amount to anything (or haven’t yet), and that this patent hasn’t been granted yet — it’s only an application. We’re really curious to see how this may continue to develop, or if it’ll amount to a new attraction, so we’ll keep a close eye on it all — stay tuned to AllEars!
A Disney World Transportation Expansion That Might Be Coming Soon
How do you feel about this new patent? Tell us in the comments!

Trending Now
Disney World has just revealed ticket prices for 2027!
We played Hide & Seek in Disney Springs, and you can find out who won...
A brand-new theme park is about to attract guests from all over the world with...
The best Loungeflys for May.
Something very fun is happening at this Disney hotel on May 5th, and it includes...
You can't miss this LEGO sale at ALDI!
There are new flower LEGO sets coming to ALDI tomorrow!
Head over to Amazon and find your new favorite Disney Loungefly!
This Disney World hotel perk is coming back next year.
Even this mega-popular ride could use some tweaks.
Disney World has confirmed these hotel perks for 2027.
If you are looking for a Mother's Day gift for the Disney Adult in your...
Disney quietly released a TON of new bags online that you won't want to miss!
You won't believe the breakfast options in Universal's Wizarding World of Harry Potter!
Disney just dropped HOW MANY new permits?!
A classic Disneyland attraction is closing soon without a reopening day in sight.
We're checking out ALL of the shops in EPCOT and pointing out what you'll find...
We have the full soundtrack for Rock 'n' Roller Coaster Starring The Muppets!
Let's talk about this unnecessarily complicated ride rule at Magic Kingdom that Disney has yet...
We tested three of the most popular walking shoes guests show up in (Hoka Clifton...