We’ve all been there — you’re patiently waiting for the people in front of you to hop on the ride, but then the seatbelt check takes forever!

The good news is, Disney just filed a patent to fix that. In theory, they wouldn’t even need ride operators to check the seatbelts and lap bars in the first place! If it’s implemented, ride loading times and overall throughput could decrease dramatically.
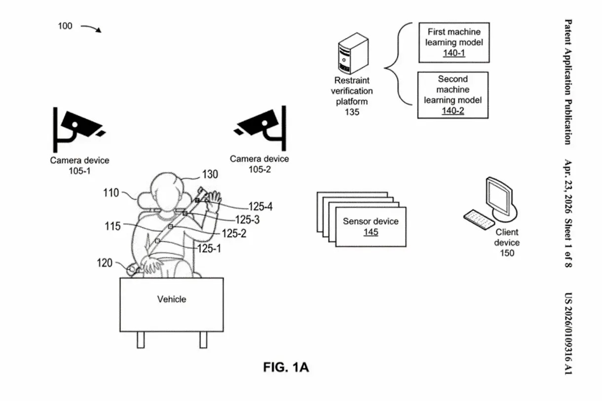
The patent is for a new AI system that uses cameras and machine learning to verify that ride restraints are properly secured before a vehicle dispatches. It works by capturing continuous video of each passenger seat during the loading process. A restraint verification platform analyzes footage using multiple machine learning models trained to detect the passenger’s body position and size, the restraint type, and whether the restraint is correctly securing the passenger.

While the use of AI for something so safety-critical might sound scary, it could detect scenarios that human operators might miss. The patent mentions scenarios where a rider may be sitting on top of a seat belt instead of beneath it, or when the belt is intentionally extended beyond its proper length to create a false sense of it being tightly secured.

The system combines video analytics with data from current sensors, notably seat sensors that detect whether a guest is seated, clasping sensors that confirm whether a restraint is locked, and rotary encoder devices that measure the physical length of the seat belt extended. Right now, ride operators rely on a combination of manual visual checks and basic sensor data, which can’t detect all improper restraint situations that the new system would.

The patent notes that restraint inspection is “time-consuming due to the number of passengers and seat belts to inspect and/or due to the level of attention required by the operator to check the details needed to perform this task.” If implemented, it would decrease the time it takes for passengers to load a ride, so more passengers board in the same amount of time, which means shorter wait times!

The technology can also help with safety checks. The system can detect if a guest unbuckles after the vehicle has dispatched and trigger an alert or stop the ride. It can also prevent ride dispatch if a restraint issue is detected. In addition, it ensures guests are in appropriate seats, like when a child can’t be in an outside seat.

We’re very curious to see if or when Disney will implement this new system. Stay tuned to AllEars for more Disney World news!
How You Can Opt Out of Disney’s Facial Recognition System
What do you think of this new patent? Comment below!

Trending Now
This new rule can make Disney World Annual Passes harder to get!
You can't miss this new HOKA drop!
You won't believe the ride with the most injuries so far in 2026.
Don't make these mistakes.
These are 9 new bags online that are great to carry around the Disney parks.
Thinking of grabbing your mom a new Disney Loungefly bag for Mother's Day? Check out...
The best Loungeflys for May.
NEW wands have arrived at the Wizarding World of Harry Potter! Check them out right...
Disney World ride closures just happen.
You can grab these 25 Disney items for Mother's Day on a budget!
A new pool opened up in Disney World this week...but there are still dozens of...
We played Hide & Seek in Disney Springs, and you can find out who won...
If you've been hunting for your first Loungefly (or more) to add to your collection...
Gideon's Bakehouse in Disney Springs has shared a tip for using its virtual queue! Learn...
If you love 'Harry Potter,' you'll love this.
There's a NEW drink at The Cake Bake Shop, and YES, we're just as obsessed...
Picky eaters are going to LOVE these four new snacks in EPCOT!
Trader Sam's Enchanted Tiki Bar just debuted BREAKFAST and we're bringing you our full review.
We've planned the best Disney World itinerary with 2-year-olds, so you don't have to!
Our AllEars readers love this one Disney World restaurant so much that they make sure...